双极板是电解水制氢系统中的重要部分,因其是电解过程中反应物分配的第一阶段,双极板执行许多基本功能,例如向催化剂层提供反应物、为膜电极组件提供机械支撑、为排水提供通道和保持反应物分离等。
双极板上的流道的特定功能之一是产生均匀分布在催化层上的流场,流场分布不均匀可能会导致珍贵的催化剂材料使用不平衡,且装置的整体产氢效率低于预期。因此流道形状必须进行正确的设计,以将反应物均匀分布在催化剂表面。根据流道的几何形状,可分为平行、蛇形、点状、交指形、仿生流道等。
下文主要介绍四种常见的双极板流道设计,更多双极板设计方案,欢迎扫码进群参与讨论。

1. 平行直流道
平行直流道是最基础的流道设计,流道结构简单,由进口到出口是一条或多条平行的直线。这种流道结构的双极板流体流动阻力极小,所需的循环泵功率较低,压降是几种流道结构里最小的。
由于压降小,在反应速度快或大电流密度下,产生的气体容易在部分流道内积聚形成“气囊”,阻碍水与催化剂层接触,导致极化损失增加,严重时影响电堆寿命。因此平行流道适合中低电流密度工况以及对成本敏感的中小型电解系统,或作为大型电解槽中与其他流道组合的基础结构。
平行直流道,图源钛易氢工厂
2. 蛇形流道
蛇形流道是目前燃料电池和电解水领域应用最广泛的经典设计之一,由一条或多条流道在板面上像蛇一样来回迂回,覆盖整个反应区域,因此蛇形流道可强制流体走遍每个角落,排泡能力最强。
由于流道路径长且存在大量的弯头,在弯头处会产生局部的高压降和局部紊流,从而有效地将产生的气体气泡排出,减少了气囊积聚;但也是路径长且弯头多,导致流体流动阻力大,增加了循环泵的能耗,压降较大。

针对单蛇形流道的问题,通过多根流道并行的多蛇形通道设计,可在接触面积和压降之间取得平衡。则单蛇形流道适合追求极致排泡的小面积测试,多蛇形通道设计可用于中大型工业电解槽以及高电流密度运行等各个规模的电解槽。
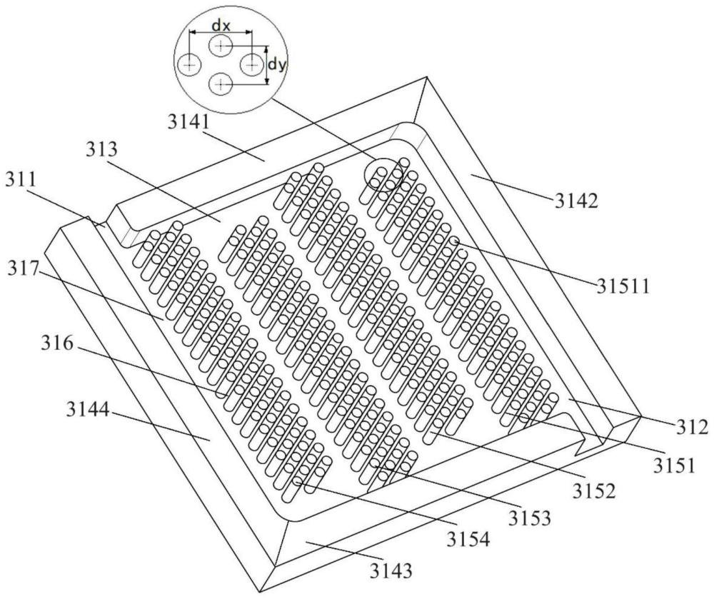
3. 点状流道
点状流道是一种非连续性的流道设计,在双极板表面分布着许多独立的远点、方点或其他形状的突起,流体在突起之间穿行,流体路径不固定,流动阻力较小。
点状流道,图源钛易氢工厂
由于突起间形成了完全开放的空间,水很容易从多个方向接触到电极表面,且流体绕过一个个凸起时,会不断发生收缩和扩张,制造微湍流,极大地强化了气泡从电极表面的脱附与排出,从而提升反应效率。
由于缺少连续通道的“虹吸”效应,反应生成的气体或水更容易在电极表面局部聚集,有形成“水淹”的风险,由于排水或流体均匀性较差,单独的点状流场设计应用并不多,在商业应用中,一般会将点状流场与其他流场相结合(多为蛇形流道)。

蛇形流道内嵌点状结构
4. 交指形流道
交指形流道采用“断开的入口与出口流道”设计,通过强制对流原理使气体横向扩散,改变了传统流道依赖扩散的传质方式,能够显著提升反应效率。

交指形流道
由于交指流道具有强制对流的特点,这使得该结构能极大地强化物质向催化层的传输。同时,强制对流产生的吹扫力能迅速将反应产物(如氧气泡、液态水)排出,有效降低“水淹”风险。
但是,因强制流体穿过具有高阻力的多孔介质(气体扩散层),会导致压降增大,系统能耗显著变高。基于其独特的特征,交指形流道适合用于低湿度和高电流密度工况。
除了上述常见的流道结构,还有仿生流道、三维结构流道、螺旋流道、网格/多孔流道等结构。综合来看,平行流道和蛇形流道凭借其性能均衡、易于制造的特点,占据了市场的主流地位,这两种设计是绝大多数商业化电解槽的基础。
来源:艾邦氢科技网综合整理

|
序号 |
议题方向 |
演讲企业 |
|
1 |
风光离网制氢条件下AEM解决方案 |
亿纬氢能 |
|
2 |
高可靠性PTFE垫片与PPS隔膜解决方案助力ALK行稳致远 |
时代新材 |
|
3 |
电解水制氢系统的数字孪生应用进展与展望 |
郑州大学 周俊杰 教授 |
|
4 |
待定 |
稳石氢能 |
|
5 |
高性能泡沫镍及其表面改性低成本高效制备技术在制氢电解槽上应用的研究进展 |
中南大学 魏秋平 教授 |
|
6 |
AEM制氢膜电极制备工艺与自动化技术 |
拟邀:宁波微威新材 |
|
7 |
海水制氢的抗腐蚀机制与抗渗透电解槽设计 |
拟邀:中国海洋工程研究院 |
|
8 |
质子交换膜的性能优化与电解槽系统协同设计 |
质子交换膜研发及生产商、上游关键材料供应商 |
|
9 |
碱性电解水技术的大规模、低电耗与智能化升级路径 |
头部碱性电解槽生产商、专注于工业智能化控制的解决方案供应商 |
|
10 |
“ALK+PEM”制氢技术的协同与集成应用策略 |
综合制氢设备供应商 |
|
11 |
破局阴离子交换膜技术瓶颈:兼顾高强度、稳定性与寿命的设计方案 |
阴离子交换膜供应商、关键材料供应商及研发部门 |
|
12 |
SOEC高温电解的技术突破与长期稳定性提升 |
SOEC头部企业 |
|
13 |
离网制氢场景对电解槽快速响应特性的解决方案 |
离网制氢电解槽制造商 |
|
14 |
不同电解水制氢电源技术路径对比及市场前景分析 |
制氢电源整流器生产商 |
|
15 |
双极板蚀刻工艺智能制造优化方案 |
核心部件(双极板)制造商 |
|
16 |
中国电解水制氢技术出海机遇与挑战 |
已获得海外认证并出口设备的头部企业 |
报名方式一:请加微信并发名片报名
艾盈盈:18617020032(同微信)
邮箱:ab019@aibang.com

报名方式二:扫码报名
报名链接:https://www.aibang360.com/m/100286?ref=172672
或者识别二维码进入报名页面登记信息

阅读原文,在线报名
艾邦氢能产业链通讯录,目前有2200人加入,如亿华通、清极能源、氢蓝时代、雄韬、氢牛、氢璞、爱德曼、氢晨、喜马拉雅、明天氢能、康明斯、新源动力、巴拉德、现代汽车、神力科技、中船712等等,可以按照标签筛选,请点击下方关键词试试
资料下载:




